Discos Imprimíveis
A área de impressão do disco imprimível é de 17 mm (0,67 pol.) de diâmetro interno a 1 mm (0,04 pol.) do diâmetro externo da superfície de impressão.

Área imprimível
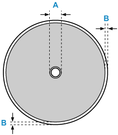
- A: 17,0 mm (0,67 pol.)
- B: 1,0 mm (0,04 pol.)

S114
A área de impressão do disco imprimível é de 17 mm (0,67 pol.) de diâmetro interno a 1 mm (0,04 pol.) do diâmetro externo da superfície de impressão.

Área imprimível